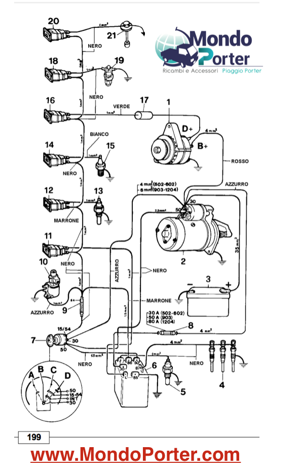
Ηλεκτρικό κύκλωμα Piaggio Porter Diesel Lombardini

Διάγραμμα ηλεκτρικής εκκίνησης 12V με εναλλάκτη Marelli τύπου AA 125 R 14V 45A 1 Γεννήτρια
2 εκκινητής
3 Μπαταρία
5 Αισθητήρας θερμοκρασίας ψυκτικού
6 Μονάδα ελέγχου
7 Διακόπτης μίζας
8 Ασφάλεια 30A για LDW 502-602, 50A για LDW 702-903-1003 80A για LDW1204-1204 / T-1404.
9 5Α ασφάλεια
10 Ηλεκτρομαγνητική βαλβίδα
11 Προειδοποιητική λυχνία προθερμαντήρα
12 Προειδοποιητική λυχνία θερμοκρασίας ψυκτικού
14 Προειδοποιητική λυχνία πίεσης λαδιού
15 Διακόπτης πίεσης
16 Φως φόρτισης μπαταρίας
17 Δίοδος
18 Ενδεικτική λυχνία απόφραξης
19 Ένδειξη απόφραξης
20 Ενδεικτική λυχνία στάθμης καυσίμου
21 Μετρητής στάθμης ΚΑΥΣΙΜΟΥ A Φώτα στάθμευσης B Στήριγμα C Γρανάζια D Εκκίνηση

