Αποσυναρμολόγηση / Συναρμολόγηση γυαλιού παρμπρίζ Piaggio Porter
Αποσυναρμολόγηση (θα γίνει σε εύθετο χρόνο)
1 . Με μια σπάτουλα από μπαμπού (ή με ένα κατσαβίδι με σχισμή κ.λπ.) αφαιρέστε τη φλάντζα στεγανοποίησης από το σώμα πιέζοντας στην άκρη.
Αυτή η λειτουργία ΠΡΕΠΕΙ να εκτελείται από το εσωτερικό της καμπίνας επιβατών.

2. Τραβήξτε το παρμπρίζ προς τα έξω πιέζοντας και, Prying from Inside, ανασηκώστε το επάνω μέρος της λωρίδας καιρού και στις δύο άκρες.
Αφαιρέστε το παρμπρίζ μαζί με τη φλάντζα στεγανοποίησης.
Συναρμολόγηση γυαλιού παρμπρίζ Piaggio Porter
Εγκατάσταση (θα γίνει σε εύθετο χρόνο)
1 . Κάντε τις ακόλουθες προκαταρκτικές ενέργειες:
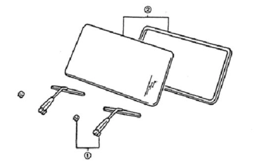
- Στερεώστε τη φλάντζα στεγανοποίησης στο τζάμι του παρμπρίζ.
- Ετοιμάστε ένα σχοινί εργασίας « A » Όπως φαίνεται στην εικόνα.

- Απλώστε λίγο σαπουνόνερο στην περίμετρο της φλάντζας στεγανοποίησης «Β» για να γλιστράει πιο εύκολα.

2 . Συναρμολογήστε το παρμπρίζ και τη σχετική φλάντζα στο πλαίσιο έτσι ώστε να τοποθετηθούν σωστά στο περίβλημά τους.
Βεβαιωθείτε επίσης ότι τα δύο άκρα του σύρματος κρέμονται στο εσωτερικό του οχήματος.
3 . Τραβήξτε το σύρμα, πάλι από το εσωτερικό της καμπίνας, ενώ ένα δεύτερο άτομο, από το εξωτερικό, χτυπά την επιφάνεια του παρμπρίζ δίπλα στη τσιμούχα με τις παλάμες του για να διασφαλίσει ότι η ίδια η τσιμούχα είναι σωστά τοποθετημένη στο περίβλημά της.

4. Για να τοποθετήσετε το παρμπρίζ, χτυπήστε το με τις παλάμες του χεριού σας.
5 . Μπροστινός βραχίονας και λεπίδα υαλοκαθαριστήρα Δείτε την εικόνα για τη θέση εγκατάστασης.


