Vi starete chiedendo come fare a cambiare il liquido refrigerante?
Nessun problema vi spiegheremo noi come fare.
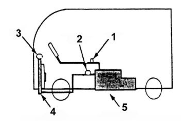
Per prima cosa vi ricordiamo di non aprire MAI il tappo del radiatore o dello scarico a motore caldo.
A. Mettete la leva di comando del riscaldatore
sulla posizione "caldo". B. Togliete il tappo del radiatore (N°3 della figura qui accanto.)
C. Scaricate il liquido refrigerante togliendo i
tappi di scarico situati sul serbatoio inferiore del
radiatore ed il tubo del radiatore.
D. Togliete il tappo (N°2 della figura qui accanto) sul lato motore ed il tappo (N°1 dell figura qui accanto)
del tubo di spurgo del riscaldatore sulla parte superiore
del motore.

E. Inserite un tubo nel foro di riempimento del radiatore.
Pulite l'interno del radiatore. Durante questa
operazione mantenete il motore al minimo.
F. Spegnete il motore e reinstallate i tappi di scarico
e chiudeteli.
G. Mettete il liquido refrigerante nel radiatore.
Quando il liquido refrigerante inizia a fuoriuscire
dal foro (N°2 della figura qui accanto) che si trova sul lato motore e dal tubo di
spurgo del riscaldatore, chiudete entrambe le
aperture.
H. Mettete il liquido refrigerante fino a che il liquido
fuoriesca dal foro di riempimento del radiatore.
I. Chiudete a fondo il tappo del radiatore (N°3 della prima figura.)
L. Pulite all'interno del vaso di espansione e riempite
con il liquido refrigerante.

M. Avviate il motore e lasciatelo arrivare a temperatura.
N. Verificate sempre che non vi siano perdite.
O. Dopo che la temperatura del liquido è diminuita,
togliete il tappo (N°2 della figura qui accanto) situato sul lato motore. Controllate il livello del liquido refrigerante. Se il livello è troppo basso, aggiungete il liquido refrigerante.
Chiudete nuovamente il tappo (N°2 della figura qui accanto.)
P. Controllate il livello del liquido refrigerante nel
vaso di espansione. Aggiun
gete acqua fino a livello massimo. Mettete il tappo del vaso di espansione.
Infine riempite il radiatore con il liquido refrigerante e collegate il tester nel tappo del radiatore. Fate riscaldare il motore ed applicate una pressione di 117kPa con il tester che avete applicato sul tappo del radiatore e controllate sempre se ci sono delle perdite.


